卫生级不锈钢S304 316L方管
长轴低温承插焊截止阀在石化应用
低温截止阀是指能够在低温≤-196摄氏度工况下使用的不锈钢阀门,通常把工作温度低于-40℃的阀门称为低温阀门。DJ61Y低温截止阀是石油化工、空气分离、天然气等工业重要设备之一,其质量的优劣决定着使用企业能否安全、经济、持续地生产。低温截止阀的主要特点是所有零部件的材料必须经过深冷处理。DJ61Y型低温截止阀主要用于管道系统在低温状态下对液氧、液氮等介质的截断或接通。

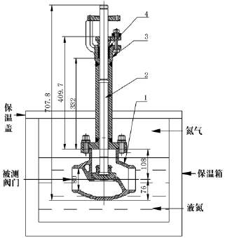
长轴低温截止阀由阀体,阀瓣,阀杆,阀盖,手轮,密封件组成,阀盖采用加长颈结构;其特征是填料密封函采用上填料和下填料组成双重压紧密封结构,介质流道方向采用低进高出,阀体进口通道在阀座密封面的下方,阀体出口通道在阀座密封面的上方。永龙阀门建议低温截止阀在系统预冷后请检查螺栓螺母及填料压帽等紧固件的锁紧状况,如出现微量泄漏,系由材料遇冷收缩而引起的,将紧固件在冷态下紧固即可。产品适用范围:气体液化、液氧、液态烃和液化天然气、液氮、LNG系统。“齐鲁中科光物理与工程技术研究院"(以下简称“中科光物院")是由济南市政府与中国科学院理化技术研究所共建的独立事业法人单位,济南市和山东省推动新旧动能转换的重要项目。中科光物院以支撑重大战略需求和高技术创新为使命,聚焦先进制造、新能源、新材料和生命健康等重大领域,强化战略目标导向,重点开展前沿。
|
序号 |
品 名 |
型 号 及 规 格 |
单位 |
数量 |
|
1 |
截止阀 |
手动低温截止阀DJ61F PN16 DN80 对焊连接 |
套 |
3 |
长轴低温承插焊截止阀在石化应用工作原理
DJ61F长轴低温截止阀的工作原理是靠旋转阀恋来使阀门畅通或闭塞。闸阀开关轻便,体积小,可以做成很大口径,密封可靠,结构简单,维修方便,密封面与球面常在闭合状态,不易被介质冲蚀,在各行业得到广泛的应用。

长轴低温截止阀的密封副由阀瓣密封面和阀座密封面组成,阀杆带动阀瓣沿阀座的中心线作垂直运动。截止阀启闭过程中 启高度较小,易于流量的调节,且制造维修方便,压力适用范围广。
低温焊接截止阀适用于低温液体贮运设备的管理系统,具有开关灵活、密封可靠的特点,也可用于其他低温和深冷介质的管理系统。此类型专用截止阀门主要用于液氧(液氮、液氩)等低温液态介质系统上,具有开关灵活、密封可靠、耐压等特点。

低温焊接截止阀产品优点:
低温焊接截止阀是指关闭件(阀瓣)沿阀座中心线移动的阀门。根据阀瓣的这种移动形式,阀座通口的变化是与阀瓣行程成正比例关系。由于该类阀门的阀杆开启或关闭行程相对较短,而且具有非常可靠的切断功能,又由于阀座通口的变化与阀瓣的行程成正比例关系,非常适合于对流量的调节。因此,这种类型的阀门非常适合作为切断或调节以及节流使用。

长轴低温承插焊截止阀在石化应用结构特点
1、启闭无摩擦。这一功能解决了传统阀门因密封面之间相互摩擦而影响密封的问题。
2、上装式结构。对装在管道上的阀门可直接在线检查与维修,能有效减少装置停车,降低成本。
3、单阀座设计。消除了阀门中腔介质因异常升压而影响使用安全的问题。
4、低扭矩设计。特殊结构设计的阀杆,只需配一个小手把阀门就能轻松启闭。
5、楔形密封结构。阀门是靠阀杆提供的机械力,将球楔压到阀座上而密封,使阀门的密封性不受管线压差变化的影响,在各种工况下密封性能都有可靠保证。
6、密封面的自清洁结构。当球体倾离阀座时,管线中的流体沿球体密封面成360°均匀通过,不仅消除了高速流体对阀座局部的冲刷,也冲走了密封面上的聚积物,达到自清洁的目的。
7、阀门口径DN50以下的阀体、阀盖是模锻件、DN65以上的阀体、阀盖是铸钢件。
8、阀体与阀盖的连接形式各有不同、夹箍销轴式连接、法兰垫片连接和自密封螺纹连接。
9、阀座、阀瓣密封面均采用等离子喷焊或堆焊钴铬钨硬质合金,密封面硬度高、耐磨、抗擦伤、使用寿命长。
10、阀杆材料为渗氮钢、渗氮后的阀杆表面硬度高、耐磨、抗擦伤、同时防腐蚀、使用寿命长。
长轴低温承插焊截止阀在石化应用主要技术参数

长轴低温承插焊截止阀在石化应用主要零部件
|
序号 |
零件名称 |
AStoASTM |
SStoASTM |
||
|
A350 LF2 |
A350 LF3 |
A182 F304 |
A182 F316(L) |
||
|
1 |
阀体 |
A350 LF2 |
A350 LF3 |
A182 F304(L) |
A182 F316(L) |
|
2 |
阀瓣 |
A276 410 |
A276 304(L) |
A276 304(L) |
A276 316(L) |
|
3 |
阀盖 |
A350 LF2 |
A350 LF3 |
A182 F304(L) |
A182 F316(L) |
|
4 |
垫片 |
316夹柔性石墨 |
316夹PTFE |
||
|
5 |
螺栓螺母 |
A193 B7 |
A193 B7 |
A193 B8 |
A193 B8M |
|
6 |
阀杆 |
A182 F6 |
A182 F6 |
A182 F304(L) |
A182 F316(L) |
|
7 |
填料 |
柔性石墨 |
PTFE |
||
|
8 |
填料压套 |
A276 420 |
A182 F304 |
||
|
9 |
销钉 |
A276 420 |
A182 F304 |
||
|
10 |
活节螺栓 |
A193 B7 |
A193 B16 |
A193 B8 |
A193 B8M |
|
11 |
填料压板 |
WCB |
A351 CF8 |
||
|
12 |
螺母 |
A194 2H |
A19 44 |
A194 8 |
A194 8M |
|
13 |
阀杆螺母 |
A276 410 |
|||
|
14 |
手轮 |
A197 |
|||
|
15 |
铭牌 |
SS |
|||
|
16 |
螺母 |
A194 2H |
A194 4 |
A194 8 |
A194 8M |
|
适用温度 |
≥-40℃ |
≥-101℃ |
≥-196℃ |
||
低温截止阀的阀杆轴线与阀座密封面垂直。阀杆开启或关闭行程相对较短,并具有非常可靠的切断动作,使得这种阀门非常适合作为介质的切断或调节及节流使用。低温截止阀一旦处于开启状态,它的阀座和阀瓣密封面之间就不再有接触,因而它的密封面机械磨损较小,由于大部分截止阀的阀座和阀瓣比较容易修理或更换密封元件时无需把整个阀门从管线上拆下来,这对于阀门和管线焊接成一体的场合是很适用的。